Полезные статьи
Читать все статьиПолуцентр упорный с твердосплавной вставкой, конус Морзе 4
Характеристики товара
Код 1С:
00-00002223
Остаток на складе:
1
Единица измерения:
шт
Страна Происхождения:
РОССИЯ
Цена по запросу ₽
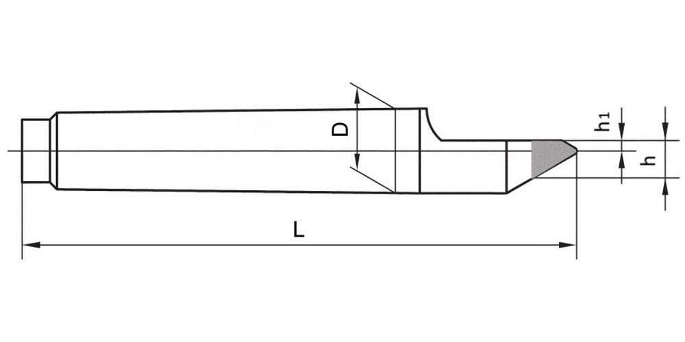
Упорный полуцентр DHE4 предназначен для фиксации и точного базирования заготовки при токарной обработке на низкоскоростных режимах резания. Монолитная конструкция центра состоит из хвостовика в виде конуса Морзе №4 (MT4) и конусовидного упора с лыской (вырезом). Токарный центр DHE4 изготовлен из закаленной легированной стали с изностойкой твердосплавной вставкой. Точность 0,010 мм.


